Tauchpumpe mit großem Durchfluss HCP L-250A / 400V
Die Tauchpumpen des Types L der Firma HCP zeichnen sich durch ihre ideale und kompakte Konstruktion aus. Sie vereinen eine hohe Leistungsfähigkeit in einem kompakten Gehäuse und bieten hohe Fördermengen was sie zur idealen Pumpe für die Wasserwirtschaft und bei der Entwässerung macht.
Das Pumpenlaufrad, das Gehäuse der Gleitringdichtung und der obere Deckel sind aus Bronze gefertigt. Die Spirale, das Ansauggehäuse und der Boden der Pumpe sind aus Grauguß gefertigt. Das Außen- und Innengehäuse sowie die Pumpenwelle sind aus Edelstahl.
Die Pumpen sind mit doppelten SiC/SiC-Gleitringdichtungen ausgestattet, die mit einer permanenten ölfüllung geschmiert werden.
Als zusätzlicher Schutz der Gleitringdichtung gegen Verschmutzung wird ein zusätzlicher SImmering verwendet.
Der Trockenläufer-Elektromotor ist mit einem zusätzlichen Wärmeschutz ausgestattet. Der Elektromotor wird durch die gepumpte Flüssigkeit gekühlt, die um das Motorgehäuse fließt. Daher eignet sich dieser Typ zum pumpen von großen Tanks mit niedrigem Füllstand.
Material der Pumpe
- Spirale: Grauguß 0.6020
- Laufrad: ALBC3 - Bronze
- Welle: Edelstahl 1.4301
- Motorgehäuse: Edelstahl 1.4301
- Saugkörper: Edelstahl 1.4301
- Oberer Deckel: Grauguß 0.6020
Anwendungsgebiete
- Wasserwirtschaft
- Bewässerung, Wasserversorgung, Entwässerung
- Pumpen von Wasser aus Seen und Flüssen
- Wasserregulierung bei überschwemmungen
- Abpumpen großer MengenSchmutzwasser
Leistungskennlinie der Pumpe

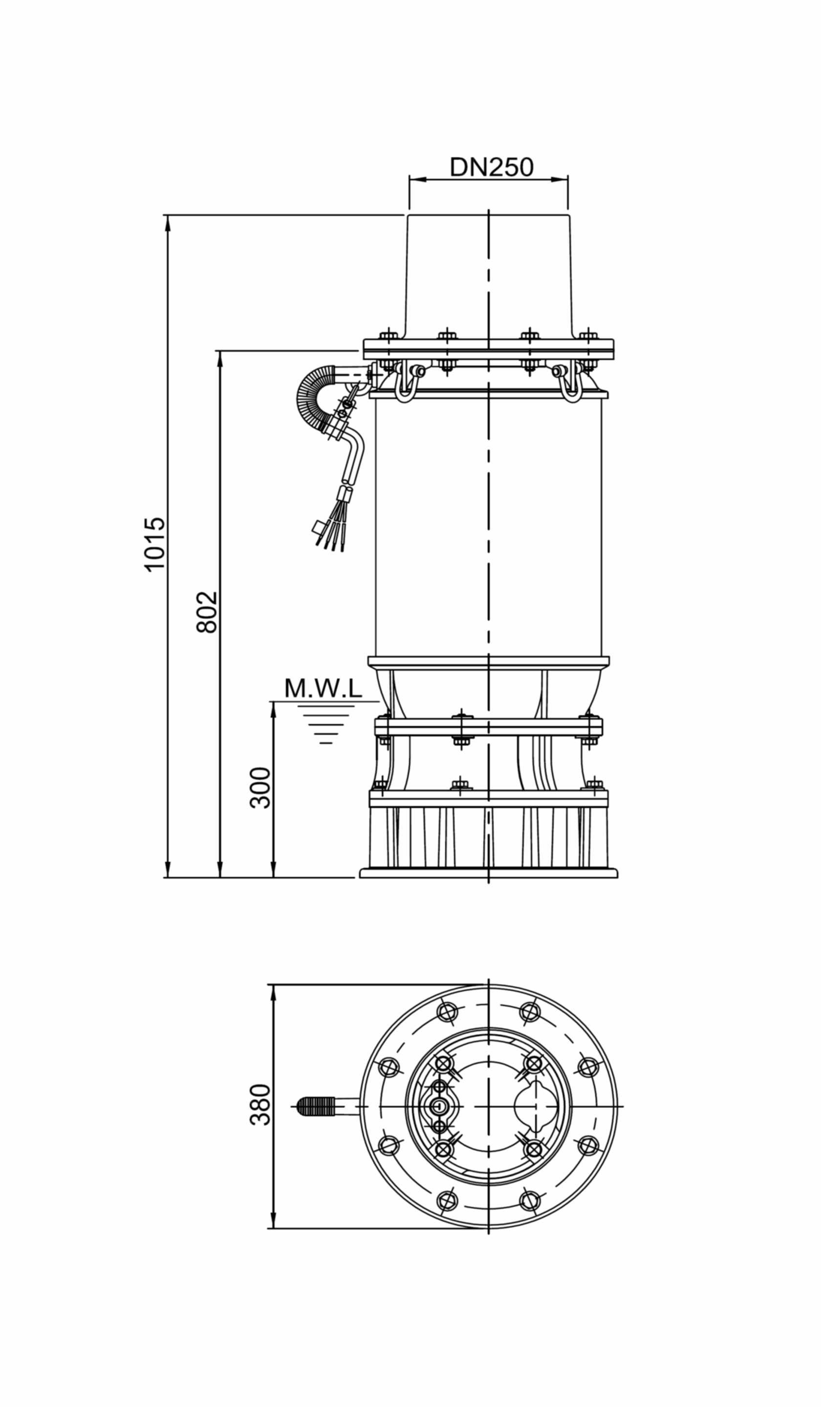
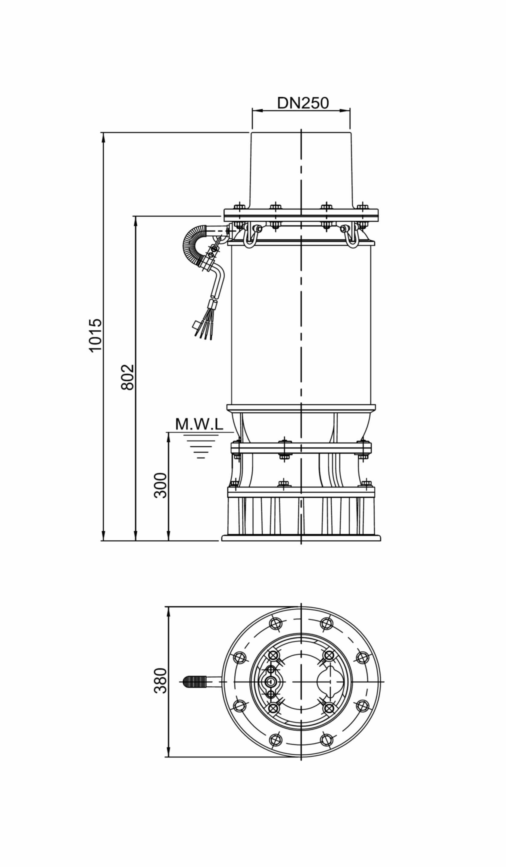
Zeichnung der Pumpe

| Q Max Max. Fördermenge | 405 m3/hod |
| Spannung | 400 V |
| H max Max. Förderhöhe | 6,4 m |
| P max Maximale Leistungsaufnahme | 8,8 kW |
| Druckseitiger Anschluss Durchmesser | DN250 '' |
| Kabellänge | 10 m |
| Gewicht | 157 kg |
| Max. Temperatur des Fördermediums | 40 °C |
| PH Wert | 6-9 |
| Nennstrom | 15,4 A |
| Max. Dichte des Fördermediums | 1050 kg/m3 |
| Motorumdrehungen | 1440 rpm |
